HOME >
Á¦Ç°¼Ò°³
>
Return Line Filter
>
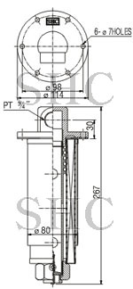
SRA